Клапан для манометра. Запорные клапаны
- Клапан для манометра. Запорные клапаны
- Клапан для манометра амакс К. Клапан трехходовой стальной для манометра К. 00
- Клапан для манометра К. К. 00
- Клапан для манометра м20х1.5 КМ. Манометры для измерения низких давлений газов
- Видео ⛲️ Кран для манометра FIV Ду 15, Кран трехходовой для манометра | АРМАШОП
Клапан для манометра. Запорные клапаны

Вентили манометрические ВПЭМ (прямоточные) применяются в качестве запорных устройств для вторичных отводов трубопроводных систем, а также для установки манометров и отбора проб. Оснащены эластомерным уплотнением, обеспечивающим полную герметизацию запорного прибора при минимальном усилии на рукоятке, стравливающим клапаном для сброса давления, присоединительными резьбами внутреннего или наружного исполнения.
Принцип работы запорного манометрического вентиля довольно прост — под воздействием рукоятки приходит в движение шток, который путём вращения в ходовой гайке передаёт поступательное движение золотнику, перекрывающему поток.
Внимание! Многооборотный ход шпинделя вентиля позволяет постепенно воздействовать на среду, что особенно важно для участков систем с возможным гидравлическим ударом.
К преимуществам прямоточных вентиляционных стальных вентилей можно отнести:- небольшие габариты;
- минимальное гидравлическое сопротивление;
- отсутствие зон застоя.

Недостатками являются:
- необходимость регулярного техобслуживания;
- ограничение пределов применения по диаметру;
- быстрый износ мест соединения корпуса с трубопроводом.
Вентиль стальной манометрический ВПЭМ изготавливается из стали следующих марок:
- ст 20 — используется при температуре окружающей среды не ниже -40ºС;
- 09Г2С — для эксплуатации при температуре не ниже -60ºС;
- 12Х18Н10Т или 10Х17Н13М3Т — в химически активных средах при температуре не ниже -60ºС.
Технические характеристики вентилей манометрических ВПЭМ 5х35, ВПЭМ 5х350
- Рабочее давление — 35 (350) МПа (кг/см²);
- Класс герметичности по ГОСТ 54808-2011 — А;
Запорная арматура такого типа совместима в монтаже с большинством количеством манометров европейских и российских производителей. Средняя цена ВПЭМ 5х35 хл м20х1,5 н м20х1,5в составляет 46,6 дол.
Клапан для манометра амакс К. Клапан трехходовой стальной для манометра К. 00

КМ 1.00 – трехходовой стальной клапан для манометра с ручным управлением, предназначенный для установки в качестве запорного устройства перед КИП на трубопроводах, транспортирующих природный газ (по ГОСТ 5542-87), жидкую и паровую фазу сжиженных углеводородных газов (по ГОСТ 20448-90) с температурой рабочей среды от −40 до +80 °С. Рабочее давление — 1,6 МПа. Герметичность затвора — по классу А (по ГОСТ 9544-93). Присоединение к трубопроводу — на накидной гайке. Материал корпуса — сталь. Масса изделия — 0,35 кг. Срок службы клапана КМ 1.00 — 30 лет.
После установки клапана КМ 1.00 на газопроводе и присоединения КиПа подача рабочей среды к прибору осуществляется за счет открытия седла левого клапана путем вращения левого маховичка против часовой стрелки. При этом правое седло клапана должно быть закрыто вращением правого маховичка по часовой стрелке. Для сброса рабочей среды из полости прибора (установка прибора на «ноль») необходимо закрыть левое седло клапана вращением левого маховичка по часовой стрелке и открыть правое седло вращением правого маховичка против часовой стрелки. Для присоединения контрольного манометра в клапане КМ 1.00 имеется отверстие с резьбой М10×1, к которому контрольный манометр подсоединяется через переходной штуцер. Через это же отверстие происходит сброс рабочей среды из полости прибора. Для подачи рабочей среды в контрольный манометр необходимо открыть левое и правое седла клапана за счет вращения левого и правого маховичков против часовой стрелки.
Технические характеристики

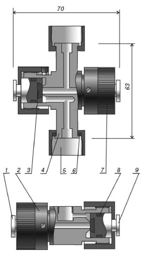
Клапан трехходовой стальной для манометра КМ 11.00:
1 — левый шток; 2 — левый маховичок; 3 — уплотнение; 4 — корпус; 5 — накидная гайка; 6 — кольцо; 7 — правый маховичок; 8 — кольцо уплотнительное; 9 — правый шток
Предприятия-изготовители
- «Амакс-Газ», ЗАО
Цена на оборудование предоставляется по запросу.
Для получения консультации звоните нам
Клапан для манометра К. К. 00
Клапан трехходовой стальной для манометра КМ 1.00
Клапан трехходовой стальной для манометра КМ 1.00
Клапан трехходовой стальной для манометра КМ 1.00 предназначен для установки на трубопроводах, транспортирующих природный газ ГОСТ 5542-87, жидкую и паровую фазу сжиженных углеводородных газов ГОСТ 20448-90 с температурой от -40 до +80 °С, в качестве запорного устройства перед контрольно-измерительными приборами.
Технические характеристики
Рабочее давление — 1,6 МПа.
Герметичность затвора — А по ГОСТ 9544-93.
Присоединение к трубопроводу — на накидной гайке.
Материал корпуса — сталь.
Управление клапаном — ручное.
Масса — 0,35 кг.
Срок службы — 30 лет.
После установки клапана на газопроводе и присоединения КиПа подача рабочей среды к прибору производится за счет открытия седла левого клапана путем вращения левого маховичка против часовой стрелки. При этом правое седло клапана должно быть закрыто вращением правого маховичка по часовой стрелке.
Для сброса рабочей среды из полости прибора (установка прибора на «ноль») необходимо закрыть левое седло клапана вращением левого маховичка по часовой стрелке и открыть правое седло вращением правого маховичка против часовой стрелки.
Для присоединения контрольного манометра в клапане имеется отверстие с резьбой М10x1, к которому контрольный манометр подсоединяется через переходной штуцер. Через это же отверстие происходит сброс рабочей среды из полости прибора.
Для подачи рабочей среды в контрольный манометр необходимо открыть левое и правое седла клапана за счет вращения левого и правого маховичков против часовой стрелки.
Клапан для манометра м20х1.5 КМ. Манометры для измерения низких давлений газов
Тип КМ (КМВ). Напоромер (манометр низкого давления) применяется для измерения давления сухих, газообразных сред, неагрессивных к медным сплавам.
Принцип действия манометров КМ основан на зависимости деформации чувствительного элемента от измеряемого давления. В качестве чувствительного элемента используется мембранная коробка. Под воздействием измеряемого давления центр мембранной коробки перемещается и с помощью специального передаточного механизма вращает стрелку манометра.
Область применения напоромеров: газораспределение, котельное, медицинское и лабораторное оборудование.
Диаметр корпуса
63, 100, 150 мм
Класс точности
| Ø100, Ø150 | 1,5 |
| Ø63 | 1,5* / 2,5 |
* — для КМ-12
Диапазон показаний давлений, кПа
| KМ | 0…2,5** / 4** / 6 / 10 / 16 / 25 / 40 / 60 |
| KМВ** | −1…1,5 / −1…3; −0,8…0,8*** / −1,25…1,25*** / −5…5*** / −8…8*** / −12,5…12,5*** |
** — для Ø100, Ø150
*** — только Ø100
Рабочие диапазоны
Постоянная нагрузка: ¾ шкалы
Переменная нагрузка: ⅔ шкалы
Кратковременная нагрузка: не должна превышать 100% шкалы, во избежание выхода прибора из строя.