Задвижка клиновая фланцевая с выдвижным шпинделем. Задвижки клиновые с выдвижным шпинделем
- Задвижка клиновая фланцевая с выдвижным шпинделем. Задвижки клиновые с выдвижным шпинделем
- Задвижка клиновая 30с41нж. задвижка клиновая стальная 30с41нж Ру16 фланцевая ЛАЗ, МЗТА, ЛМЗ Семенов и Китай
- Задвижка клиновая фланцевая с выдвижным шпинделем чертеж. Задвижка – общий вид и комплектация
- Задвижка клиновая фланцевая с выдвижным шпинделем стальная 30с41нж. Задвижка стальная 30с41нж
- 30с41нж. Стальные задвижки типа 30с41нж: устройство и особенности конструкции
Задвижка клиновая фланцевая с выдвижным шпинделем. Задвижки клиновые с выдвижным шпинделем
DN 50–500, PN 1,6–25,0 МПа
Назначение: применяются в качестве запорных устройств на трубопроводах для перекрытия потока рабочей среды.
Рабочая среда: вода, пар, нефть, газо-жидкостная смесь, жидкие и газообразные нефтепродукты, природный газ, углеводороды, растворы пенообразователей, а также рабочие среды, содержащие сероводород (H2S) и углекислый газ (CO2).
Направление движения рабочей среды: двухстороннее.
Установочное положение: любое.
Климатическое исполнение и категория размещения по ГОСТ 15150:
- У1 — для эксплуатации в макроклиматическом районе с умеренным климатом (температура окружающей среды от –40 °С до +40 °С) с размещением на открытом воздухе;
- ХЛ1 — для эксплуатации в макроклиматическом районе с холодным климатом (температура окружающей среды от –60 °С до +40 °С) с размещением на открытом воздухе;
- УХЛ1 — для эксплуатации в макроклиматическом районе с умеренным и холодным климатом (температура окружающей среды от –60 °С до +40 °С) с размещением на открытом воздухе.
Класс Герметичности: по требованию заказчика герметичность затвора может быть выполнена по классу «A», «B», «C» по ГОСТ 9544–2015.
Строительная длина задвижек по ГОСТ 3706–93.
Тип присоединения к трубопроводу:
- фланцевое;
- сварное.
Присоединительные размеры, тип и размеры уплотнительных поверхностей фланца задвижек с фланцевым присоединением к трубопроводу по ГОСТ 33259–2015.
Исполнение по сейсмостойкости:
С0 — не сейсмостойкое исполнение до 6 баллов включительно по шкале MSK–64;
С — сейсмостойкое исполнение свыше 6 до 9 баллов включительно по шкале MSK–64;
В зависимости от вида управления, задвижки изготавливаются в нескольких исполнениях:
- ручное (маховик или редуктор);
- под электропривод;
- с пневмоприводом (по требованию заказчика).
Эксплуатационные характеристики и гарантии изготовителя:
- Назначенный срок службы, лет – 30
- Назначенный срок службы выемных частей, лет – 20
- Назначенный ресурс, циклов – 3000
- На Гарантийный срок эксплуатации наработка до отказа, циклов, не менее – 750
- Гарантийный срок эксплуатации, месяцев – 24
Гарантийный срок эксплуатации устанавливается со дня ввода задвижки в эксплуатацию, но не более 36 месяцев с момента отгрузки с предприятия-изготовления.

Задвижка клиновая 30с41нж. задвижка клиновая стальная 30с41нж Ру16 фланцевая ЛАЗ, МЗТА, ЛМЗ Семенов и Китай
Задвижка стальная клиновая 30с41нж устанавливается в качестве запорного устройства на трубопроводах, транспортирующих неагрессивные жидкие и газообразные среды (вода, пар, воздух, нефтепродукты). Температура рабочей среды - до 450°C, давление - до 1,6 МПа.
Технические характеристики
- Рабочая среда - вода, пар, масло, нефть, природный газ, жидкие неагрессивные нефтепродукты, неагрессивные жидкие и газообразные среды, по отношению к которым, материалы применяемые в задвижке коррозионностойкие.
- Температура рабочей среды - от -40°C до +450°C.
- Условия эксплуатации - У1.
- Тип присоединения - фланцевое.
- Класс герметичности - А по ГОСТ 9544-2005.
- Срок службы - не менее 10 лет.
- Гарантия - 24 месяца.


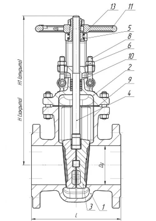
Задвижка клиновая фланцевая с выдвижным шпинделем чертеж. Задвижка – общий вид и комплектация
На рисунке ниже изображена клиновая задвижка .
Рис. 1
Чтобы перекрыть рабочую среду в трубе, задвижка оснащена клином (14), который перемещается в одно из крайних положений за счет вращения маховика (1). Для передачи и преобразования вращательного движения маховика в поступательное на клин, установлена резьбовая пара «гайка-шпиндель» (3,5).
Клин образован двумя дисками, на которые по кругу нанесен уплотнитель (15).
Шпинделем называется вал, имеющий правые или левые обороты вращения и имеющий резьбу. На шпинделе задвижки , представленной на рис.1, резьба накатана не по всей поверхности. Конструкция предполагает поступательное движение клина и, соответственно, шпинделя. Поэтому последний в технической документации может называться штоком.
За счет постоянного взаимодействия штока с сальниковой набивкой (6) и рабочей средой, нужно уметь правильно выбрать (для конкретной среды) материал этих деталей. Поэтому при заказе уточняется, из какой стали делают шток задвижки а также тип уплотнителя сальника.
Кроме сальника, уплотнитель (12) используется во фланцевом соединении корпуса (13) с крышкой (8). Для герметичной затяжки фланца применяют типовые шпильки (9) и гайки (7).
Для присоединения задвижки к трубе, используются патрубки, укомплектованные фланцами (16). А вот для фиксации грундбуксы применяют откидные болты (10), фиксированные штифтами (11).
Остальные компоненты задвижки :
- 2 – стопорное кольцо приводной гайки;
- 4 – упорные и опорные подшипники
Заводы трубопроводной арматуры выпускают модели задвижек для разных сред. Но и в одинаковых моделях при изготовлении одной детали могут использоваться разные материалы. Далее познакомимся:
- с ходовыми моделями задвижек ;
- способами их изготовления;
- и используемыми при этом материалами.
Информация будет полезна для отдела закупок, снабжения и главных технологов предприятий.
Задвижка клиновая фланцевая с выдвижным шпинделем стальная 30с41нж. Задвижка стальная 30с41нж
Цена от 3570 руб. с НДС
| Материал корпуса: | сталь 20Л |
| Тип присоединения: | фланцевое |
| Способ управления: | ручной |
| Максимальная температура рабочей среды: | 450 °C |
| Ру (PN), кг/см2: | 16 |
| Класс герметичности: | А, В, С (по ГОСТ 9544-93) |
| Климатическое исполнение: | У1 по ГОСТ 15150-69 |
| Рабочая среда: | вода, пар, масла, нефть и жидкие неагрессивные нефтепродукты, природный газ, неагрессивные жидкие и газообразные среды |
Задвижки стальные клиновые используют для монтажа на трубопроводы в качестве запорного оборудования. Герметичность устройства: класс «А» по ГОСТ 9544-2005.
- вода,
- пар,
- масло,
- нефть, жидкие неагрессивные нефтепродукты,
- газ, жидкие газообразные неагрессивные среды.
- Корпус, крышка, клин (диски), маховик: сталь 25Л
- Шпиндель: 20Х13
- Гайка шпинделя: сталь 45, латунь ЛС59-1 (под приварку)
- Гайка, шпиндель, болт: углеродистая сталь ГОСТ 1050—88 класс прочности не ниже 5.6 по ГОСТ 1759.5—87
- Болт откидной: сталь 35
- Уплотнение между корпусом и крышкой (прокладка, кольцо): паронит
- Набивка сальника: АГИ, ТРГ
- Подшипник: шариковый упорный
- Наплавка на кольце в корпусе: 07Х25Н13, 08Х21Н10Г6
- Наплавка на клине: 13Х25Т, 10Х17Т
- с фланцевым присоединением
- с ручным управлением, возможно оборудование механическим редуктором или маховиком
- под электропривод
- под приварку
Задвижка 30с41нж: назначение и материальное исполнение
- Предназначены установки в системы, транспортирующие следующие рабочие среды:
- Основные материалы конструкции:
- Задвижки изготавливают:
Наибольшей популярностью у наших клиентов пользуется задвижка стальная фланцевая 30с41нж ду 100.
| Климатическое исполнение по ГОСТ 15150-69 | У1 | |||||||
| Условный проход | 50 | 80 | 100 | 150 | 200 | 250 | 300 | 400 |
| Давление условное (номинальное) Ру (PN), МПа ( кгс/см2) | 1,6 (16) | |||||||
| Класс герметичности по ГОСТ 9544-93 | А,В,С | |||||||
| Рабочая среда | Вода, пар, масла, нефть и жидкие неагрессивные нефтепродукты, природный газ, неагрессивные жидкие и газообразные среды | |||||||
| Температура рабочей среды | не более 450 oС | |||||||
| Максимальное усилие на маховике, Н (кгс) | 650(65) | 750(75) | 1000 (100) | 1400(140) | 1500(150) | 1740 (174) | ||
| Число оборотов маховика, от закрыто до открыто | 15 | 23 | 27 | 33 | 43 | 43 | 53 | 53 |
| Тип присоединения | Фланцевое по ГОСТ 12815-80 | |||||||
| Цена с НДС, руб. |
30с41нж. Стальные задвижки типа 30с41нж: устройство и особенности конструкции
Задвижки типа 30с41нж – фланцевые (соединяются с трубопроводом с использованием фланцев). Такой тип соединения – прочный и долговечный, подходит для труб с высокими показателями внутреннего давления. А также фланцы просты в установке и демонтаже. Изготавливаются в точном соответствии с ГОСТ 12819-80 и 12815-80.
Стальная задвижка 30с41нж состоит из корпуса и крышки, между этими двумя элементами находится полость, куда поступает рабочее вещество под повышенным давлением.
Клиновые фланцевые запорные устройства 30с41нж изготавливают:
- с дисковым клином,
- с упругим или жестким клином.
Упругий клин может деформироваться для герметичного прилегания к уплотнительной поверхности кольца корпуса. Обеспечивает надежную герметичность и избавляет затвор задвижки от проблем, вызванных сложностью открытия во время заклинивания при избыточной нагрузке.
Задвижки 30с41нж бывают с выдвижным или невыдвижным шпинделем. Клин регулирует, насколько интенсивно будет перемещаться рабочая среда. Клин движется перпендикулярно потоку вещества и прижимается к седлам. В закрытом положении уплотнители на седле сходятся вплотную с клином. А при вращении спаренной со шпинделем гайки хода меняется режим работы арматуры 30с41нж.
Стальные задвижки 30с41нж, снабженные выдвижным шпинделем, характеризуются ходовым узлом, напрямую соединенным с затвором. От не контактирует с рабочей средой, поэтому долговечен и прост в ремонте и обслуживании.
А модели с невыдвижным шпинделем характеризуются ходовой частью, постоянно находящейся в рабочей среде. Обычно используется на водопроводах, так как химически агрессивные вещества быстро повреждают элементы конструкции задвижки. Зато такие фланцевые устройства компактнее и могут использоваться в условиях ограниченного пространства.
Изделие способно долго храниться в состоянии консервации, подразумевающем надежную упаковку, защищающую от загрязнения и риска повреждений, а также наличие заглушек на проходных отверстиях.